ライト兄弟のイラスト

ライト・パテント

top

ライト兄弟はキティホークで動力飛行を試みる前に特許を出願しています。ライトの特許は簡単に言うと飛行機のバランスを保つための操縦系に関する物で、翼を捻って横のバランスを取る撓(たわ)み翼を主要部分として、垂直ラダー(方向舵)、水平ラダー(昇降舵)などの構成が含まれています。特に撓み翼は空中でバランスを取ったり、飛行方向を変えるための基本原理に近いものでしたから、パテントの効果は絶大でした。

やがてライトの特許明細書が審査され特許として登録されると、ライト兄弟は特許を盾に、特許侵害の可能性のある世界中の飛行機研究家やパイロット、飛行機製造会社を訴えました。特にアメリカではライト兄弟が飛行機の製造を独占する様な勢いでした。ライト兄弟は、まず飛行家としてライトの次に頭角を表してきたグレン・カーチスを訴えます。カーチスは撓み翼は避けて、エルロン(翼の一部だけを動かす、近代的なもの)を採用しましたが、それでもカーチスは裁判に負けています。時の裁判官はライト兄弟を単なる撓み翼の発明者として見ていただけでなく、飛行機の発明者として認め、飛行機の発明者としての権利を保護しようとしたのです。ライト兄弟が各メーカーに課したライセンス料はやたらに高く、やがてライト兄弟は航空界全体を敵に回すことになります。

特許明細書というものは、たとえそれが日本語で書かれたものでも読みにくい文章になっています。正確を期すため、権利を広く取ろうとするため、どうしても文章がぎこちなくなります。ここにライト兄弟の問題の特許明細書の全文和訳をご紹介いたしますが、何せ素人の訳であり、しかも特許明細書独特の表現があることから、ますます難解で、読みにくい文章になっています。でも、たぶん、その和訳の品質が悪いにせよ、初めての全文和訳のネット上公開と言うことで、何かとご参考になればと思っています。

読みにくい事を覚悟して、「ライト特許明細書の素人による和訳」をお楽しみください。


特許明細書
特許番号:821,393
発明の名称:飛行機械(Flying Machine)
発明者:オービル&ウィルバー・ライト
特許出願日:1903年3月23日
特許登録日:1906年5月22日

図1

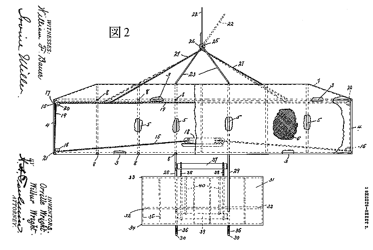
図2

図3
我々、アメリカの市民であり、オハイオ州モンゴメリーカウンティのデイトンに居住しているオービル・ライトとウィルバー・ライトは、飛行機械に関する有効な改善と新しい発明をした。以下にその仕様を述べる。


(発明の属す分野)
我々の発明は、重力または動力を利用することにより、一枚またはそれ以上の翼が、空中をエッジ方向に小さな角度を付けて動くことによって生じる反力によって、その重量を支える事の出来る飛行機械の範疇に関するものである。


(発明の目的)
我々の発明の目的は、その装置の平衡または横バランスを維持するため、または復帰するための手段の提供と、その機械を垂直方向および水平方向に誘導するための手段の提供と、軽量と強靱性と組み立てやすさを兼ね備えた構造の提供、さらには後述するその他の優位性を提供することである。


それらの目的のため、我々の発明は新規な特徴から成り立っている。これからそれらをここに述べるとともに、特に特許請求の範囲にそれらの点を明確化する。


(図面の説明と発明の背景)
添付の図面の中で、図1は我々の発明のひとつの実施例である装置の透視図である。図2はその平面図で一部断面と一部取り除かれている。図3は側面図、そして図4と図5は垂直な支柱と翼を結ぶ自在な連結部材の例を示している。この発明にかかる飛行機械の特性において、この装置は空気と一つか二つ以上の翼の下面の間の接触の結果によって、その接触面が空気に対して少しの取り付け角を持っていることにより空中に支持される。空気と翼の相対運動は装置が動く方向とは逆向きに吹く風の形になった空気によって、または高所から発進する時のように機械の落下と前進の組み合わせによって、またはそれらの組み合わせによってもたらされ、この場合は滑空する機械としてであるが、また一方、その機械を積極的に前方に押し出すための動力が与えられた時にも似たような方法で空気によってその機械は空中に支持されるであろう。いずれの場合においても、その機械が出会う変化する条件によって、望むべき結果を得られる場所からその機械を移動させてしまうような数々の妨害力が存在する。この困難を取り除くための手段を提供することが、本発明の主な目的であり、これから、その結果が達成されるための手段となる構造について記述を進める。


(実施例の説明)
添付図面上に、我々の発明を一つの形で具現化した装置を現してある。この説明的な具体例において、我々の発明は一枚の翼を持った構成でも実現出来るが、われわれにとって好ましい構成、つまりこの機械は二枚の重なった、1、2の翼から構成される。それぞれの翼は前から後ろの長さに比較して、左右の端から端までの幅の方が遙かに長い。上側の翼の4つの角は記号a、b、c、dで示してある。下側の翼のそれに対応する各角はe、f、g、hで示してある。その周囲の直線ab、efは翼の前縁を表し、上翼の側端の周囲線はそれぞれ直線ad、bcで、下翼の側端の周囲線はそれぞれ直線eh、fgで示されており、上翼、上翼の後縁部は直線cd、ghで示す。


 
この構造物を操作するための基本的理論の説明を進める前に、まず始めに、この翼と、この二つの翼を結合している構造部分を製作するための好ましい方法について述べる。


(実施例;主翼の構造)
 それぞれの翼は、二つの平行な横方向に渡された機械の側端から側端まで延びる桁3とその終端は翼の前から後ろへ延びる部材4によって結合されている構成の枠と、その枠を覆う張りつめた布あるいはその他の適切な生地によって構成される。それぞれの翼の前後の桁3をいくつもの平行な部材リブ5によって結合されており、そのリブは図に示すように若干、後方桁より後ろ側に突き出ていることが望ましい。これらの桁、ボウ、リブは軽量さと柔軟さを備えた必要な強度を持った木材によって作られていることが望ましい。この枠が布で覆われることによって、このフレームワークによって、翼の支持面を構成する布がしっかりと固定される。それぞれの翼に使われる布地はその枠に取り付けられる前に、図2の6に示すように、その布の織り目の糸が横断桁と縦のリブに対して対角線を成すようにするため、斜めに裁断され、ほとんど翼の大きさと形に仕上げられる。このようにする事によって、布地の糸が斜め部材の役割を果たすことによって、斜めの糸は桁とリブとともにトラス構造を形成する。布の後縁においてはワイヤー7を包みこんでおり、そのワイヤーは後ろ側の桁の両端に固定されて、後方に突き出た縦リブ5によって緊張させられており、こうして後ろ側に伸長されたフラップ、つまり翼の一部を形成する。この翼構造は横と縦方向の撓(たわ)みに耐えうる極めて強靱な表面を作り、同時に、これからここに記述する曲げや捻りを可能にするものである。


 
二つの翼が利用されるときには、図の構造にあるように、かなり剛性があって、翼の前縁、後縁に沿って等しい空間距離を保つためにできるだけ同じ長さの垂直な支柱8群によって合体させられ、これらの支柱は、支柱の上下端はヒンジ・ジョイントかユニバーサル・ジョイントなどの適切な種類の結合部品で翼に結合される。この目的のために使用可能な一つの結合の形を図面の図4と5によって示した。この構造において支柱8の両端にはリング9が固定され、それはフック10に掛けられていて、それが留め金11で固定され、その板の一部は曲げられて桁3に締め付けられている。斜めの補強材、つまり張線12はそれぞれの支柱の一方の端から隣の支柱の反対側の端に張られていて、これらの部品を取り付ける便利な方法として、フック10と一体になった一つの張線の一端を取り付けるフック13を図に示すが、ここでもう一つの張線はフック10に取り付けられる。フック13は下方に曲げられて張線をつなぎ止めているように図示されている。一方フック10はピン14によって、張線12とその止め具9を固定しているところを示す。この構造がトラス・システムを形成し、機械全体に渡って、大きな横軸の剛性、強度を機械に与えること、それと同時に部品がジョイントによって結ばれていることにより、二枚の翼が、これから述べる方法によって、曲げられたり捻られたりすることを可能にしていることが理解できるであろう。


(実施例;撓み翼構造)  
15はロープまたは他の柔軟な結合材で機械の前の部分の長手方向に下翼の上を通り、下翼の前の角e、fにある滑車またはその他の適切なガイドの下を通って、上の方へ、上翼後ろの角c、dに延びて、そこで17に示すように固定されている。このロープの中央の方は、横方向に動くことの出来るクレイドル18に繋がれていて、そのクレイドルが機械の両横方向に動かせることにより、クレイドルはロープを長手方向に両方向に動かす手段を形成している。我々はこのクレイドルを、ロープ15をコントロールするための便利な手段として利用し、そしてこの機械は一般的に、下の翼の上に、頭を前にして腹這いになった操縦者によって使用されることを意図したものであり、体がクレイドルの上になる事によって、つまり操縦者の体の動きによりクレイドルは横方向に動かされる。しかしながら、ロープ15は他のいかなる適切な方法によっても操作できるであろう事は理解されるであろう。


 
19は第二のロープで、機械を横断的に下翼の後縁に沿って延び、下翼の角g、hに取り付けてある適切な滑車あるいはガイド20の下を抜けて、そこから斜めに上がって上翼の前の角a、bに延び、そこでそのロープの端は適切な方法で固定されている。


(実施例;撓み翼の理論的説明)  
いままで述べた部分についてこの構造を考察するに、クレイドル18が図1、2にあるように、図1のクレイドルに示された矢印のごとく、また図2の点線で示すように右側に動かされたと仮定すると、角eのガイド滑車の下を通って角dに固定されているロープ15の部分は緊張し、他の一方の側、つまりロープ15の半分はゆるみが生じている。ロープ15の緊張下にある部分については、矢印がしめすように。この構造の後ろの上の角dに引き下げる作用をし、前の下の角eに対しては引き上げる作用が生じる。このことは角dを下向きに動かし、角eを上向きに動かす。角eが上向きに動けば、それに連れて角aも上向きに動く、なぜならば中間にある支柱8はかなり剛性の高い材質で、角aとeの間隔をいつでも一定に保持するからである。同様に、角dとhを結ぶ支柱8は角hをdと連動して下方へ動かす。このように角aが上向きに動き、角hが下向きに動くことにより、角aに繋がれたロープ19の部分は角hにある滑車20 を通して上向きに引かれ、そしてロープ19に生じた引く力は、機械の反対側にある角bを下方向に引っ張り、同時に、同じ側にある角gは上方向に引っ張る。その結果が角bの下方向への動きと角cの上向きの動きとなる。このように、クレイドル18の横方向の、図に示すような右方向への動きによる結果、機械の一方の側端であるところの端部adとehは、それぞれの翼が通常平面上にある通常の状態の位置から、その通常平面と相対的に角度を持った位置に動かされ、機械のそれぞれの側端は前側では通常平面より上に持ち上げられ、後ろ側では通常平面よりも押し下げされる、そしてその側端は後ろに傾斜することになる。同時に、機械の反対側では側端部bcとfgにおいて逆向きの傾斜が発生すし、それらは前に傾斜することになる。この位置は説明図の図1に点線で示されている。クレイドルの通常位置から反対の向きへの動きは、翼側端部の傾斜を逆にすることは明白である。このような構造的理由により、いまここに考慮している特別の構造方式をもってすれば、機械の一方の側の翼の側端部の前の角の部分を翼の通常面に対し上または下に動かし、機械の他方の側の側端部の前の角の部分を反対方向へ動かすことを同時に引き起こすことが可能であることがわかるであろう。翼の一方の側端部の中心から他方の側端部の中心を横切る直線回りにそれぞれの翼が捻られ、ゆがめられる時、両端が異なる角度に動き、それは端から端までに渡っているため、それぞれの翼の表面には螺旋状の撓(たわ)み、つまりひねりが与えられる。我々がこの構造とこの操縦方法を選んだのは次の理由によるものである、それぞれの翼本体に縦の中心線から翼端に向かって徐々に増加する角度を与えるからであり、すなわち両翼に連続した表面を与えることにより、機械の中心から両側に向けて、徐々に増加または減少する取り付け角を与えることができるからである。しかしながら、理解して欲しいのは、我々の発明はこの特別な構造に制限されるものではなく、翼の両端の角度関係がその翼の通常平面を基準に逆向きに変化させるどのような構造も我々の発明の範疇に包含されるという事である。さらに以下のことを理解すべきである、翼の両端がその翼の通常平面の上か下に異なる角度をとる位置に動くとき、必ずしもこれらの動きが反対の側端をそれぞれ異なる角度に、水平線を基準に上下する動きをもたらすものではない、なぜならば、翼本体の通常平面は機械が飛行している時には水平面に対して傾いており、前から後ろにかけて下がっており、一端の前の角は翼の通常平面より下に押し下げられていたとしても、その押し下げは必ずしもその翼端側の後縁を通る水平面の下まで移動させるのに十分ではない。またさらに、我々は機械のお互いに反対側の側端の動きはその量において等しく、方向において逆になるような装置を作ることを選択したが、我々の発明はこの結果をもたらす構造に限定されるものではなく、なぜなら、ある状況下においては反対側の側端を等しい量だけ逆方向に動かすことをせずに、片側の側端を動かすことが望ましいかもしれない。さて、翼の側端を前述の方法で動かすための、この発明の目的について、風圧の多様な条件とか他の原因によって、機体が横方向にアンバランスになりがちである、という前提に立たねばならない、つまり片方の側が沈む傾向で、反対側では上がる傾向にあると言うことであり、機械が機体の縦の中心軸回りに回転している時である。我々の記述したこの発明の提供はその操縦者をして、そのような困難に直面した時に横方向のバランスを回復することを可能にするものである。何らかの原因で、図1、2に示された機体に向かって左側にある部分が、下向きに落ちる傾向を見せたと仮定すると、前述のように前述の図にあるクレイドル18の右方向への動きは、すでに説明で仮説されたように、前述した方法で翼の側端部を動かし、それで側端adとehは翼本体の通常平面に対して、後方に傾き、側端bcとfgは前方に傾く。機械のその部分がこの位置にあるという事によって、その側端adとdhは抵抗する空気に対し大きな迎え角を作り、一方、機械の反対側の側端は小さな迎え角を作る。この事実によって、機械のより大きな迎え角になった側は上昇、つまり上に動く傾向となり、そして、この上方向の動きが機械の横方向のバランスを回復するのである。機械の別の側が下がる傾向を示したときには、クレイドル18の逆方向への動きが機械を通常の横平衡状態に復帰させる。もちろん、一枚だけの翼をもった機械の場合にも、同じ方法で同様の効果を作り出すことができる。


(実施例;垂直ラダー)  
このように操縦される機体に連携して、垂直軸回りに回転するように支持された垂直ラダーまたは尾翼22を採用している。このラダーは支持材またはアーム群23の後方終端部に支持されており、そのアーム群はそのアーム群の前方終端部において、上下翼の後縁にそれぞれ回転軸で繋がっている。これらの支持部材は図にあるように、できるだけV型で、前方の終端部が比較的広く離れていて、その回転軸部を24に示す。その支部材は図3の点線に示すように、それらの自由状態になっている後方部分を上方にスイングすることが出来、下方への動きは何か適切な方法で制限をかけている。ラダー22の垂直回転軸は25に示す、そのうち一つの回転軸には滑車26が装着されており、それに操縦ロープ19が巻かれていて、そのロープの終端は横方向に広げられ、ロープ19の中心からそれぞれ反対になる位置にに結合されている。この構造上の理由により、クレイドル18の横方向の移動は飛行線を基準に、ラダーをひとつの側からその反対側まで回転させるのに寄与する。この結合では次のようなことが観測される、そのような構造によって、ラダーはいつでもその抵抗を受ける面を、翼の側端が少ない抵抗を受ける角度になっている機械の側に向けている。この構造の理由は、翼の側端部が雰囲気中に、今まで述べたように異なる迎え角を生じた時、最大の迎え角を生じた側は、前述のように持ち上げられ、上の方に動くけれど、同時に前方に進むことに対し、増大した抵抗に合う、それ故に前進を妨げられ、と同時に機械の反対側は小さな迎え角を生じ、前進に対しより小さな抵抗に合い、そして妨げられた側よりもより速く前方に動く。これは機械に垂直軸回りに回転する傾向を与え、この傾向は、もしうまく行かなければ、機械の前方の方向を変えるだけでなく、一方の端を極端に他方の端の垂直に下になるような位置に落とし込み、機械を墜落させる。前述のようなラダーの動きはこのような現象を防ぎ、速く前進しようとする機械の側を妨げるように働くことにより、機械の前を適切に飛行方向に維持し、そして本体をその中心である縦軸上にうまく平衡をたもつ。支持材23を上方にスイングさせる支持材23の旋回は、機械がラダーが最初に地面を打つような角度で着地した場合に、ラダーと支持材へ損傷を防ぐように、その部分が上方に逃げて、図3の点線で示すように、そしてこの事が損傷や破壊を防ぐ。しかしながら理解して欲しいのは、我々は自らを、前記の特殊なラダーの記述に制限する事はなく、基本的にはそのラダーは垂直であり、両側が空気に対し異なる抵抗を生じた時に機械が垂直な軸回りに回転するのを妨げるように、機械が雰囲気に対し最小の抵抗を生じる側に抵抗面を向けるように動かす事である。


(実施例;橇の構造)  
機械の中心あたりで下翼から支柱28が水平に前方に伸びており、上翼の中心部分からは支柱29が前に下がるように伸びて、それらの先端は支柱28に取り付けられていて、図の30に示すように支柱28の先端部分は上方に曲げられている。これら部材28、29は機械の前方部を構成するトラス構成の橇を形成し、機械が着地した際に前方に転倒するのを防ぐ作用をする。支柱29は主翼の上の部分を補強し、下翼が着地して停止させられた後に、上翼が前に動こうとするのに抵抗し、それによってロープ19にかかる不要な緊張を和らげる、なぜならば以下のような事実が理解されるように、この機械が地面に接触した時、下部のそれ以上の運動は突然拘束され、もし支柱29によって妨げられなければ、上部の慣性はそれを前方に動かせ続けようとする傾向にあり、そしてこの上部の前方への動きはロープ19上に非常に激しい緊張をもたらす、なぜならロープはその前端で上部に固定されており、ロープの下部はガイド20によって株に接続されているからである。部材28と29はまたその先端部、すなわち水平ラダーを支持することにも寄与している、その構造についても続けて記述を進める。


(実施例;水平ラダー)  
前方のラダーは柔軟な本体を持つ水平ラダーで、それは3本の剛性のある横部材、つまり小木材32、33、34と柔軟性のあるリブ35から成り、リブはその横部材を結合し前から後ろに伸びている。このようして得られた枠はラダー本体を形成するために、延ばした適切な布で覆われる。ラダーは部材29によって、その中間横部材32を支えられており、その中間部材はラダーの前縁と後縁からの距離が等しい線よりも幾分にある揚力中心の近くに位置しており、横部材32はラダーの旋回軸を形成し、バランスしたラダーを構成している。ラダー前縁に接続されたバネ36があり、部材38の先端曲げ部30に接続されており、その構造はラダーの前縁部分の上下方向の動きに抵抗するのに役立っている。そのラダーの後縁は操縦者の目前に横たわっており、操縦者によってある適切な方法によって操縦されてもよい。我々はローラーあるいは軸を用いたこの目的のためのメカニズムを示したが、そのローラーは操縦者によって握られ、どちらの方向にも回転する。ベルト38はローラー37から前方に延びて、類似するローラーまたは軸39に回されており、両ローラーまたは軸は部材28 状の適切な軸受けで支えられている。その前方のローラーまたは軸は後方に突き出たアーム40を持っており、ダラー31の後縁部でリンク41に接続している。通常ではラダー31は中間つまり翼1、2と略平衡に位置している、ただしラダーの後縁は上方あるいは下方に動かされるかもしれない、すなわち前記ラダーの通常面の上または下にその目的のための、そのメカニズムを通して動かされる。次のようなことが観測される、バネ36はラダーの前縁が両方向どちらに動こうしてもそれに抵抗し、そのため前記ラダーの後縁に力がかかった時、縦リブ35が曲げられ、ラダーは風の動きに対し、それが通常面に対しで上であろうと者であろうと、湾曲した表面を見せ、前記表面はその前方部分において小さな迎え角を見せ、後ろに行くに従って急激にその迎え角は増大する。これは均等の面積の平面に比較してラダーの効果を著しく増大させる。前述した方法によって角度と湾曲を変化させる事により、ラダーの上面と下面に圧力を生じさせる事によって、主構造部分の横軸回りの回転運動は影響を受けるかも知れないし、そして機械の進路を操縦者の意のままに上方向か下方向に導くことができ、縦のバランスが維持されるかも知れない。


 
通常の慣例に反して、我々は水平ラダーを翼の前方に負の角度で取り付け、水平部尾翼は全く採用していない。この構成によって、通常の飛行状態においてはほとんど全く圧力を受けない前方の表面を得るが、もし全くその当初の位置から動かないとしても、機械の速度がたまたま非常に減衰させられた時にはいつでも、効果的な揚力表面になり、つまりこの時、主翼表面においての揚力中心が後方に移動し、このことがしばしば機械の頭を下向きに回転させ、地面に頭から突っ込むことにより深刻な損傷を招くもととなるのだが、これを防ぐように働く。異なる構造の前方水平ラダーを後方水平ラダーと支持面との組み合わせで使用した事があるが、この組み合わせでは前述の構成によって得られる効果は無かったし、その傾向も無かったことには気がついている。


 
我々は「翼」という用語をこの詳細な説明の中および特許請求の範囲の中で、その機械が空中に支持されるための支持面、あるいは複数の支持面を表現するために使い、そしてこの用語によって、通常は略平面で、もちろん我々が好んで製作したように、布や他の柔軟な生地によって製作された場合にはこれらの表面は図3のように空気の抵抗のため少なからず湾曲を受けるかもしれないと言うことを理解してもらいたい。


(特許範囲の拡大解釈)  
我々は、ここに示された、構造の細かい詳細の説明とその添付図面に示されるところだけに自らを制限することは望まないことを理解して欲しい、これらの詳細は我々の発明の基本から逸脱することなく、変化されても良いことは明白だから。たとえば、それぞれの翼が反対側の側端に異なる角度を与えるために、その全体の長さに渡って捻られるところで、説明した構造を我々は好んでいるが、我々の発明はこの形態の構造に制限されるものではないと言うことはすでに指摘しており、なぜなら、その側端部分を動かすことだけが必要なのであり、これらの側端部だけを動かすところだけで、可動部分を支えている垂直支柱はその先端において柔軟な接続が要求されるのである。


 
このように我々の発明をすべて説明したが、新規な物として主張し、特許明細書により保護したいところは----


(特許請求の範囲)
1. 飛行機械において、その翼本体の通常状態の平面の上または下に可動な側端部を持つ通常状態では平らな一枚の翼で、その動きは飛行線を横断する軸回りで、雰囲気に対し異なる迎え角を示すために、その側端部は翼本体の通常状態の平面に対し異なる角度を取るように動いてもよい翼と、前記側端部をそのように動かすための手段、概略は説明通り。


2. 飛行機械において、通常状態で平行な、一枚の上にもう一枚が重なった二枚の翼と、その翼をその翼の側端部で、支柱と翼の間の結合は自在継ぎ手の手段により結合している垂直支柱の組み合わせで、それぞれの翼は、その翼本体の通常状態の平面の上または下に可動な側端部を持つ通常状態では平らな翼で、その動きは飛行線を横断する軸回りで、雰囲気に対し異なる迎え角を示すために、その側端部は翼本体の通常状態の平面に対し異なる角度を取るように動いてもよい、その支柱は結合している二枚の翼の結合された部分の間の距離を一定に維持する、それと二枚の翼の側端部にそのような動きを与えるための手段、概略は説明通り。


3. 飛行機械において、その翼本体の通常状態の平面の上または下に可動な側端部を持つ通常状態では平らな一枚の翼で、その動きは飛行線を横断する軸回りで、雰囲気に対し異なる迎え角を示すために、その側端部は翼本体の通常状態の平面に対し異なる角度を取るように、さらに互いに異なる角度になるように動いてもよい翼と、前記側端部に同時にそのような動きをあたえる手段、概略は説明通り。


4. 飛行機械において、通常状態で平行な、一枚の上にもう一枚が重なった二枚の翼で、それぞれの翼は、その翼本体の通常状態の平面の上または下に可動な側端部を持つ通常状態では平らな翼で、その動きは飛行線を横断する軸回りで、雰囲気に対し異なる迎え角を示すために、その側端部は翼本体の通常状態の平面に対し異なる角度を取るように、さらに互いに異なる角度になるように動いてもよい翼と、前記二枚の翼をその端部にて結合している支柱で、その二枚の翼の側端部分を結合する支柱は自在継ぎ手によって翼と結合されているものと、前記側端部に同時にそのような動きをあたえる手段で、支柱はそれら接続されている部品間の一定した間隔を維持し、機械の同じ側の側端部は同じ角度に動く翼、概略は説明通り。


5. 飛行機械において、飛行線を横断する方向に長い通常状態では平面である略矩形の形をした一枚の翼で、その翼の側端部に垂直に交わり翼本体に横たわる軸回りに動きを与える手段との組み合わせで、その翼本体の通常状態の平面に対し、その翼端部を異なる角度に動かす翼、概略は説明通り。


6. 飛行機械において、それぞれが飛行線を横断する方向に長い通常状態で平面の略矩形の形をしている二枚の重なった通常平行な翼と、それらを等間隔に維持するためにそれらの翼の端部を結合している支柱との組み合わせで、それらの支柱は翼の側端部分において自在継ぎ手で結合されたものと、同時に両方の翼の両方の側端部と、その端部に垂直に交わる軸を回りに、それぞれの翼の本体の面に、動きを与える手段で、機械の反対側の側端部をそれぞれの翼の通常面に対し異なる角度に動かし、機械の同じ側の端部は同じ角度に動き、機械の一方の側の端部は機械の他方の端部に対し異なる角度に動く、概略は説明通り。


7. 飛行機械において、一枚の翼及び、雰囲気に対して異なる迎え角を示すように、その端部を翼の本体の通常状態の平面に対し、さらにお互いに異なる角度に同時に動かすための手段と、垂直ラダー及びより小さな迎え角で雰囲気に対し小さい抵抗を示す側により近い側において、その垂直ラダーを風に対抗させるための手段との組み合わせで、概略は説明通り。


8. 飛行機械において、二枚の重なった通常平行な翼で、垂直支柱がその間隔を等距離に維持するために、その翼の端部で接続されており、その翼の側端部は自在継ぎ手によって結合されている翼及び、二枚の翼それぞれの翼の本体の通常平面に対して異なる角度に両方の翼を動かす手段で、その機械の両側部において雰囲気に対し異なる迎え角を生じさせるように、機械の一方の側を、その機械の他方の側端部に対して異なる角度に動かす手段と、垂直ラダー及びより小さな迎え角で雰囲気に対し小さい抵抗を示す側により近い側において、その垂直ラダーを風に対抗させるための手段との組み合わせで、概略は説明通り。


9. 飛行機械において、飛行線を横断する方向に長い通常状態では平面である一枚の翼と、その翼に対し、飛行線を横断する方向で翼本体の長手方向の中心に沿って延びる軸回りに螺旋状の捻りを与える手段との組み合わせで、概略は説明通り。


10. 飛行機械において、飛行線を横断する方向に長い通常状態では平面である二枚の翼と、その両方の翼等距離に維持するために両方の翼の端部で接続されている垂直支柱で、その支柱と翼の結合は自在な継ぎ手によるものであるそれと、そのそれぞれの翼に対し、飛行線を横断する方向で翼本体の長手方向の中心に沿って延びる軸回りに同時に螺旋状の捻りを与える手段との組み合わせで、概略は説明通り。


11. 飛行機械において、飛行線を横断する方向に長い通常状態では平面である二枚の翼と、その両方の翼等距離に維持するために両方の翼の端部で接続されている垂直支柱で、その支柱と翼の結合は自在な継ぎ手によるものであるそれと、そのそれぞれの翼に対し、飛行線を横断する方向で翼本体の長手方向の中心に沿って延びる軸回りに同時に螺旋状の捻りを与える手段との組み合わせでと、垂直ラダー及びより小さな迎え角で雰囲気に対し小さい抵抗を示す側により近い側において、その垂直ラダーを風に対抗させるための手段で、概略は説明通り。


12. 飛行機械において、一枚の翼と、通常状態では平面で略水平な柔軟なラダー及びその通常平面に対して後方上と後方下方向に湾曲させるための手段の組み合わせで、概略は説明通り。


13. 飛行機械において、一枚の翼と、飛行線を横断する軸の上にその中心近傍で回転可能に取り付けられた、通常状態では平面で略水平な柔軟なラダーと、そのラダーの前縁部の垂直方向の動きを妨げるバネ、そしてそのラダーの後縁を通常面の上または下に動かすための手段で、概略は説明通り。


14. 連結され重ねられた翼と、互いに反対側の翼の側端部を通常面に対し異なる角度に動かす手段と、垂直ラダーと、機械の小さい迎え角を生じる側で雰囲気に対し最小の抵抗を生じる側に向かって垂直ラダーを動かす手段と、雰囲気の抵抗にその上面あるいは下面を向けるための手段を備えた水平ラダーで構成された飛行機械で、概略は説明通り。


15. 連結され重ねられた翼と、互いに反対側の翼の側端部を通常面に対し異なる角度に動かす手段と、垂直ラダーと、機械の小さい迎え角を生じる側で雰囲気に対し最小の抵抗を生じる側に向かって垂直ラダーを動かす手段と、雰囲気の抵抗にその上面あるいは下面を向けるための手段を備えた水平ラダーで構成された飛行機械で、垂直ラダーは機械の後方、水平ラダーは機械の前方に備えた飛行機械で、概略は説明通り。


16. 飛行機械において、二枚の重ねられた翼と、それそれの翼から後方に延びたアームで平行でそれらの後端は上方へスイング可能で、その後端に垂直ラダーが旋回可能に取り付けられたアームの組み合わせで、概略は説明通り。


17. 通常は平面であるが柔軟性を持った二枚の重ねられた翼と、その翼に自在継ぎ手によって連結されているその翼端部分と連結する垂直支柱と、隣接する支柱の反対の端部を結ぶ張線と、下翼の前縁に沿って延び、下翼前部の両角部にあるガイドを通って、その終端を上翼後部の両角部に固定したロープと、下翼の後縁に沿って延び、下翼後部の両角部にあるガイドを通って、その終端を上翼前部の両角部に固定したロープで構成された飛行機械で、概略は説明通り。


18. 通常は平面であるが柔軟性を持った二枚の重ねられた翼と、その翼に自在継ぎ手によって連結されているその翼端部分と連結する垂直支柱と、隣接する支柱の反対の端部を結ぶ張線と、下翼の前縁に沿って延び、下翼前部の両角部にあるガイドを通って、その終端を上翼後部の両角部に固定したロープと、下翼の後縁に沿って延び、下翼後部の両角部にあるガイドを通って、その終端を上翼前部の両角部に固定したロープで構成された飛行機械と、垂直ラダーと下翼の後縁にそって延びるロープに連結された舵取りロープとの組み合わせで、概略は説明通り。


(以上)

wetwing.com ライト兄弟の秘密トップへ